Renka_schedule adlı Twitter kullanıcısı, geçtiğimiz günlerde yeni bir Sony patentini ortaya çıkardı. Patent, Sony’nin PS1, PS2 ve PS3 yazılımlarını taklit ederek bu oyun konsollarına ait oyunları çalıştırdığı ve bulut üzerinden (muhtemelen PS Now) oyunculara sunduğu bir teknolojiyi gösteriyor. Ancak hepsi bu kadar da değil…
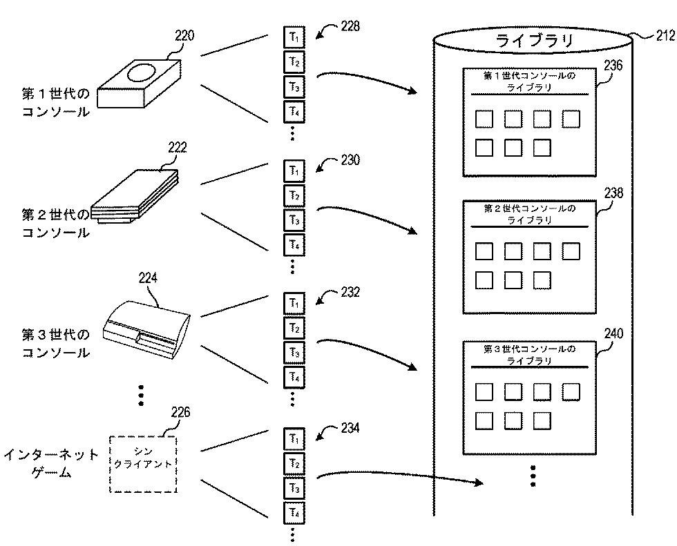
Patentte yer alan bilgilere göre Sony, söz konusu oyunlar için bir bulut oyun kütüphanesi oluşturacak. Bu kütüphanede saklanan oyunlar, tüm oyun konsollarını taklit eden bir emülatörde çalıştırılabilecek. Kütüphanede oyun ikonlarının üzerine gelindiğinde oyun ile ilgili video oynatılabilecek.

Oyunseverler diledikleri takdirde oyunu satın almadan önce bir deneme sürümünü oynayabilecekler. Deneme sürümündeki ilerleme kaydedilecek ve oyunu satın almanız halinde kaldığınız yerden devam edebileceksiniz. Bununla birlikte isterseniz oyunun belirli bir bölümünden oluşan bir mini oyun da oluşturabilir ve bunu arkadaşlarınızla paylaşabilirsiniz.

Sony’nin PS5 ile birlikte oyunculara geniş bir oyun havuzu sunacağına şüphe yok. Bununla birlikte PS1, PS2 ve PS3 oyunları için bulut oyun üzerinden de olsa destek sunmak ve oyunculara oyunların hangi bölümlerini oynayabileceklerini seçme imkanı vermek, hem PS5 oyun havuzunu çok daha genişletecek hem de nostaljik gücünü artıracaktır.





